五个Why?
什么是Service Work?
Service Worker是浏览器在后台独立于网页运行的脚本,独立于页面,是一个worker线程,也可以理解为一个网络代理服务器。
不受页面刷新的影响,可以监听和截拦作用域范围内所有页面的 HTTP 请求;
Service Worker是PWA的重要组成部分,主要用来做持久的离线缓存;
Service Work能为前端提供什么基础能力?
ServiceWorker给前端开发者开放了内核大量的底层能力,比如,它给前端提供了细粒度操作请求缓存的底层原语,等同于给前端开放了操作HTTP Cache级别缓存的能力,与Fetch API结合,让前端具备了完全操控请求,响应,缓存的能力,这点对于pwa的实现至关重要。因此serviceWorker是pwa的核心。
实际应用中,为了兼容安卓与ios,serviceWorker的应用最广泛的还不在pwa上面,而是在网站的优化方面。
基于 Service Worker API 的特性,结合 Fetch API、Cache API、Push API、postMessage API 和 Notification API,可以在基于浏览器的 web 应用中实现如离线缓存、消息推送、静默更新等 native 应用常见的功能,以给 web 应用提供更好更丰富的使用体验。
Service Work的原理是什么?
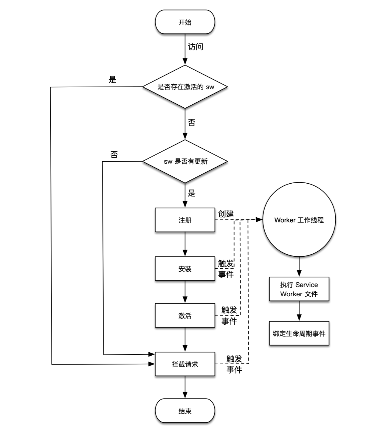
Service Worker 的工作原理主要体现在它的生命周期上,一个 Service Worker 从被注册开始,就会经历自身的一些生命周期的节点,而在这些节点都可以去做一些特定的事情,比如一些复杂的计算、缓存的写入、缓存的读取等操作。通过这些生命周期节点的联合调度,Service Worker 才能完成复杂的资源离线缓存的工作。而开发者只有了解了 Service Worker 的生命周期,才能通过设计相关逻辑,并开发 Service Worker 文件 sw.js ,让 Service Worker 去完成 PWA 离线缓存策略。
生命周期
先来了解下什么是 Service Worker 的生命周期,每个 Service Worker 都有一个独立于 Web 页面的生命周期,其示意图如下图所示。

- 在主线程成功注册 Service Worker 之后,开始下载并解析执行 Service Worker 文件,执行过程中开始安装 Service Worker,在此过程中会触发 worker 线程的 install 事件。
- 如果 install 事件回调成功执行(在 install 回调中通常会做一些缓存读写的工作,可能会存在失败的情况),则开始激活 Service Worker,在此过程中会触发 worker 线程的 activate 事件,如果 install 事件回调执行失败,则生命周期进入 Error 终结状态,终止生命周期。(生命周期终止之后会影响页面的正常加载吗?)
- 完成激活之后,Service Worker 就能够控制作用域下的页面的资源请求,可以监听 fetch 事件。
(如何监听fetch事件?)
1 | |
- 如果在激活后 Service Worker 被 unregister 或者有新的 Service Worker 版本更新,则当前 Service Worker 生命周期完结,进入 Terminated 终结状态。
注意:
- 首次注册成功的 Service Worker 没能拦截当前页面的请求,非首次注册的 Service Worker 可以控制当前的页面并能拦截请求
(为什么首次注册的时候,却没有拦截到网络资源请求的?)
主要是因为在 Service Worker 的注册是一个异步的过程,在激活完成后当前页面的请求都已经发送完成,因为时机太晚,此时是拦截不到任何请求的,只能等待下次访问再进行。
而第二次刷新页面,由于当前站点的 Service Worker 是处于激活状态,所以不会再次新建 worker 工作线程并执行 Service Worker。也就是说激活状态的 Service Worker 在一个站点只会存在一个 worker 工作线程,除非 Service Worker 文件发生了变化(手动 unregister Service Worker 也会注销掉 worker 工作线程),触发了浏览器更新,才会重新开启生命周期。而由于 Service Worker 工作线程的离线特性,只要处于激活状态,在后续的任何访问中,都会通过 fetch 事件监听器拦截当前页面的网络请求,并执行
fetch事件回调。
- 在手机端或者 PC 端浏览器,每新打开一个已经激活了 Service Worker 的页面,那 Service Worker 所控制的终端就新增一个,每关闭一个包含已经激活了 Service Worker 页面的时候(不包含手机端浏览器进入后台运行的情况),则 Service Worker 所控制的终端就减少一个,如上图打开了三个浏览器标签,则当前 Service Worker 控制了三个终端,通过 Chrome 浏览器 Devtools 的
Applications -> ServiceWorker标签可以查看如下图所示 Service Worker 控制的三个终端。当刷新其中一个浏览器标签的时候,会发现一个奇怪的现象,当前的浏览器标签的控制台打印了一条信息,而并没有对其他的两个浏览器标签进行刷新,但是它们的控制台也出现了打印信息
主要是因为,所有的终端共用一个 worker 工作线程,当在 worker 线程中执行
console.log()方法打印内容的时候,会作用到所有的终端,worker 工作线程和终端的关系如下图所示。
Service Worker 在内部都有一系列的工作流程,这些工作流程决定了开发者可以在 Service Worker 文件中如何进行开发。下图展示的是 Service Worker 工作流程图。

JS中如何使用它?
首先在页面注册一个service worker
1 | |
接着就可以在Service worker中尽情畅想,以页面的离线应用为出发点,说明sw如实做到离线应用的。
1 | |
在我们现有的React项目中怎么去使用它?
前提条件
Service Worker 出于安全性和其实现原理,在使用的时候有一定的前提条件。
- 由于 Service Worker 要求 HTTPS 的环境,我们通常可以借助于 github page 进行学习调试。当然一般浏览器允许调试 Service Worker 的时候 host 为 localhost 或者 127.0.0.1 也是 ok 的。
- Service Worker 的缓存机制是依赖 Cache API 实现的
- 依赖 HTML5 fetch API
- 依赖 Promise 实现
浏览器兼容性
https://caniuse.com/?search=serviceWork
workbox方案:workbox-webpack-plugin
官方文档: https://developers.google.com/web/tools/workbox/modules/workbox-webpack-plugin
插件版本
1 | |
安装
1 | |
配置
- webpack插件中使用~
1 | |
- 在react入口js的代码里注册代码
1 | |
效果对比
针对urlPattern: /\.(?:png|jpg|jpeg|svg)$/,图片加载速度,在开启sw前后进行对比
未开启sw之前,原图是800KB左右,加载时间是79ms左右:


service work中没有信息

开启sw之后,图片显示加载自ServiceWorker,且加载时间为4ms,速度提升20倍左右:



参考
React如何通过Webpack优雅的接入serviceWorker的成熟方案workBox && Google Analytics
